K 30

Zobrazit produkty

Popis

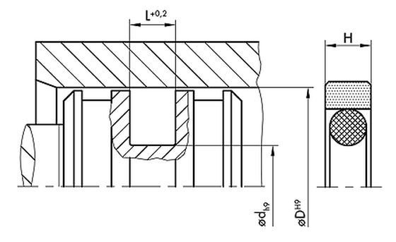
POR PTFE těsnění s O-kroužkem jako pohybujícím se prvkem, mimořádně dobré těsnící funkci při vysokých zatíženích. Další označení : GER, omegat K30, OMK-MR MI, těs. pístu

 

Standardní materiál

  • PTFE 00 9807
  • PTFE + Bronze
 

Oblast použití

Těsnění pístu, pro oboustranné zatížení tlakem.
 

Funkce

Tyto K těsnění se skládájí z PTFE těsnicího prvku, který je připojen na napájecí napětí pomocí o-kroužku. To má za následek mimořádně dobré těsnící funkci při vysokých zatíženích a dobrý statický výkon těsnění. K 30 design je dvojčinné těsnění pístu.

Média

Hydraulické oleje dle. DIN 51524, část 1 - 3, mazací oleje, mazací tuky na bázi minerálních olejů, vysoce nehořlavé hydraulické kapaliny HFA, HFB, HFC dle. VDMA 24317.
 

Hranice použití v provozu

  • Tlak (Mpa): ≤ 40
  • Teplota (°C): -30 až +100
  • Kluzná rychlost (m/s): ≤ 15


Montáž

U malých průměrů, je nutná instalace axiálně.
 


Filtrovat dle:
Seřadit dle:
Litujeme vašemu výběru neodpovídají žádné produkty.

Poptávkový formulář

* položky označené hvězdičkou jsou povinné