TGA

Zobrazit produkty  

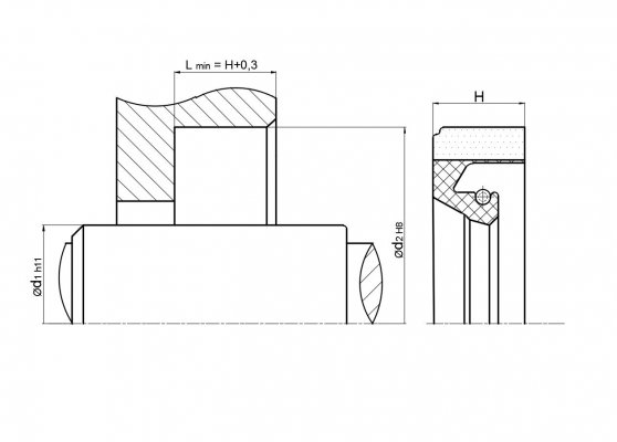
Popis

Vysokotlaké gufero. 

 

Standardní materiál

  • NBR
  • Textil s pružinou
 

Oblast použití

Používají se především k utěsnění rotujících strojních součástí jakou jsou hřídele, náboje, nápravy apod.

 

Funkce

Odolnost vůči tlaku se mění v závislosti na profilech těsnícího kroužku.

Média

Dobrá chemická odolnost vůči mnoha mazivům a minerálním olejům.

 

Hranice použití v provozu

  • Tlak (Mpa/bar): ≤ 0,4 / 4
 

Montáž

Vhodné nářadí je doporučeno k instalaci gufera typu TGA. Vhodné jsou osově přístupná místa.

 

Poznámky

Vetší rozměry mohou být vyrobeny.


Filtrovat dle:
Seřadit dle:

430x480x22 ( gufero TGA NBR 430x480x22 )

4.882,53 Kč
není skladem Zobrazit

Poptávkový formulář

* položky označené hvězdičkou jsou povinné